Imagem:CATERPILLAR
De modo esquemático, as bombas hidráulicas são dispositivos responsáveis por transformar energia mecânica em hidráulica, operação crucial para máquinas de movimentação de terra como escavadeiras.
Para tanto, esses dispositivos geram um fluxo de fluido cuja obstrução parcial causa o aumento da pressão.
Essa pressão, por sua vez, se eleva a cada ciclo, até que algum componente falhe. Por essa razão, sempre que a pressão atinge um determinado valor é necessário utilizar uma válvula de alívio, para desviar parte do fluxo para o tanque.
Em geral, as bombas hidráulicas podem ser divididas em dois grandes grupos, de acordo com o tipo. As chamadas bombas de deslocamento não-positivo (hidrodinâmicas) geralmente são usadas em aplicações de baixa pressão e alta vazão.

Imagem:CATERPILLAR
De modo esquemático, as bombas hidráulicas são dispositivos responsáveis por transformar energia mecânica em hidráulica, operação crucial para máquinas de movimentação de terra como escavadeiras.
Para tanto, esses dispositivos geram um fluxo de fluido cuja obstrução parcial causa o aumento da pressão.
Essa pressão, por sua vez, se eleva a cada ciclo, até que algum componente falhe. Por essa razão, sempre que a pressão atinge um determinado valor é necessário utilizar uma válvula de alívio, para desviar parte do fluxo para o tanque.
Em geral, as bombas hidráulicas podem ser divididas em dois grandes grupos, de acordo com o tipo. As chamadas bombas de deslocamento não-positivo (hidrodinâmicas) geralmente são usadas em aplicações de baixa pressão e alta vazão.
Nesse caso, a vazão varia consideravelmente de acordo com a diferença de pressão, o que limita a capacidade desse tipo de bomba à faixa de 17 a 20 bar (250 a 300 psi). As bombas centrífugas e axiais pertencem a esse grupo.
Por sua vez, as bombas de deslocamento positivo (hidrostáticas) liberam uma determinada vazão a cada rotação de seu eixo.
A vazão é pouco influenciada pela resistência ao escoamento a jusante, apresentando diversas vantagens em relação às versões hidrodinâmicas, como capacidade de operar em alta pressão, dimensões mais compactas, alta eficiência volumétrica (vazão real/vazão nominal, com pequena variação dentro da faixa de pressão) e alta flexibilidade de operação em termos de rotação e pressão.
CONCEITUAÇÃO
No que se refere à estrutura, as bombas de deslocamento positivo podem ser caracterizadas como de engrenagens, lóbulos, palhetas ou pistões.
Começando pelas últimas, as bombas de palhetas e pistões podem ser de deslocamento fixo ou variável, ou seja, podem ter a vazão de saída alterada ou não. Como padrão, as bombas de engrenagens são compactas e de projeto simplificado.
Por essa razão, são bastante utilizadas em circuitos de potência, particularmente em equipamentos móveis e máquinas-ferramenta para uso industrial.
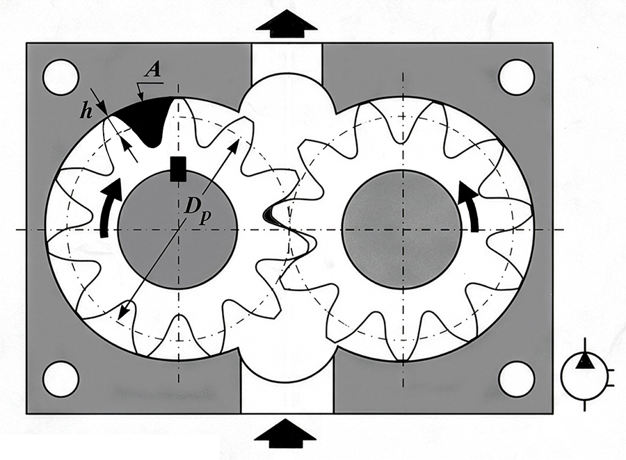
Nesse tipo de bomba, o fluido é transportado entre os dentes de duas engrenagens acopladas.
Uma delas (motora) é acoplada ao eixo motriz, enquanto a outra (movida) é movimentada por ela. Nesse arranjo, as câmaras de retenção de óleo ficam entre os dentes e a carcaça da bomba.
Além disso, no lado onde os dentes se desacoplam ocorre uma expansão de volume e uma redução de pressão para valores abaixo da atmosférica, facilitando a admissão.
Na descarga, onde os dentes se acoplam, o fluido é forçado a entrar na linha de saída, com pressão mais alta.
Em bombas de engrenagens, o fluido é transportado entre os dentes de engrenagens, uma acoplada ao eixo motriz e outra movida por ela. Imagem: REPRODUÇÃO.
Para uso em sistemas hidráulicos, essa conceituação traz vantagens consideráveis como maior robustez, baixo nível de ruído, possibilidade de trabalho com grandes variações de viscosidade, facilidade de montagem e resistência à cavitação.
Por seu turno, as bombas de lóbulos operam de forma similar às bombas de engrenagens, embora os dois lóbulos sejam acionados simultaneamente e não tenham contato físico entre si.
Também permitem um alto deslocamento volumétrico. Já as bombas de parafusos utilizam dois ou três parafusos, com tolerâncias rigorosas, em contato dentro de uma carcaça, fornecendo fluxo não pulsante, silencioso e eficiente.
Um dos rotores é motriz, enquanto os demais giram em suas próprias sedes sobre um filme hidrodinâmico de óleo.
Em termos de custo-benefício e desempenho, situam-se entre as bombas de engrenagens e as de pistões. Também têm boa eficiência e vida útil satisfatória para a maioria das aplicações.
Já o desempenho depende diretamente do nível de contaminação do óleo e de uma boa rotina de lubrificação.
As bombas de palheta possuem um rotor acionado (com fendas radiais), que gira dentro de um anel excêntrico.
Cada fenda contém uma palheta projetada para se acoplar com a superfície desse anel, devido à força centrífuga gerada com a rotação da bomba.
Com tolerâncias rigorosas, as bombas de parafusosutilizam dois ou três parafusos em contato dentro de uma carcaça. Imagem: REPRODUÇÃO.
Durante a rotação, o volume de cada câmara aumenta e diminui sequencialmente, provocando alterações correspondentes na pressão. Algumas bombas de palhetas podem variar a excentricidade mecanicamente, tornando-se bombas de deslocamento variável.
BOMBAS DE PISTÕES
Quando o assunto é sistema hidráulico, as bombas de pistões são as mais caras e de maior eficiência que podem ser encontradas no mercado, como qualquer gestor de frotas sabe bem.
Em geral, esses componentes podem trabalhar em alta rotação (até 5.000 rpm) e pressão, além de oferecerem uma ótima relação peso-potência.
Apresentam também um alto desempenho e uma longa vida útil, embora a manutenção seja comparativamente bem mais sofisticada.
Esses dispositivos operam com base no movimento alternativo de um pistão, que empurra e succiona um fluido.
Como tal, existem dois tipos básicos de bombas de pistões: axial (no qual os pistões se movimentam paralelamente ao eixo motriz da bomba) e radiais (cujos pistões estão posicionados radialmente em relação ao eixo motriz).
No caso das bombas axiais, o mais comum é dispor os pistões circularmente em torno do eixo motriz.
O movimento alternativo é feito através de um componente inclinado, que pode ser o próprio eixo, o prato ou um tambor rotativo.
Unidades com deslocamento variável possuem meios para variar a inclinação do componente rotativo, alterando a amplitude de deslocamento do pistão.
Esse posicionamento pode ser feito manualmente ou por servo-controle. As portas estão localizadas de modo que os pistões passem pela entrada (quando estão sendo puxados) e pela saída (quando estão sendo empurrados de volta).
DESEMPENHO
O desempenho de uma bomba depende diretamente da qualidade de fabricação.
Nesse sentido, os componentes devem obedecer a tolerâncias rigorosas para assegurar o desempenho previsto em projeto.
Assim, as folgas devem ser as menores possíveis e um filme de óleo deve ser mantido para lubrificação das peças em contato.
Em bombas axiais, os pistões são dispostos circularmente em torno do eixo motriz, com movimento alternativo através de um componente inclinado. Imagem:.REPRODUÇÃO
Em termos teóricos, a eficiência global de uma bomba pode ser dividida em dois componentes: eficiência volumétrica e eficiência mecânica, correspondendo ao produto de ambas.
A eficiência volumétrica indica a perda interna da bomba, correspondendo à relação entre a vazão real produzida (QR) e a vazão teórica que a bomba deveria produzir (Qr), como demonstrado a equação Ƞv = 100 (QR/Qr).
Geralmente, as eficiências volumétricas variam de 80 a 90% para bombas de engrenagens, de 82 a 92% em bombas de palhetas e de 90 a 98% em bombas de pistões.
A eficiência mecânica indica a perda de energia devida a razões como atritos internos e outras (que não sejam vazamentos), assim como à energia perdida devido à turbulência do fluido. A eficiência mecânica de uma bomba normalmente varia entre 90 e 95%.
As bombas de palhetas possuem rotor com fendas radiais e que gira dentro de um anel excêntrico. Imagem: REPRODUÇÃO
Em unidades métricas, a relação pode ser indicada como Ƞm = 100 (PQr/TN), onde P = pressão de saída (Pa); T = torque de entrada (Nm); e N = rotação da bomba (rps).
Os fabricantes especificam o desempenho das bombas em forma de curvas, resultantes de dados experimentais, ou em tabelas comparativas.
Para uma determinada rotação, essas curvas mostram valores de vazão, eficiência e potência, entre outros parâmetros, contra a pressão de saída. As faixas usuais de variação dessas características podem ser conferidas na Tabela.
Da mesma maneira, o ruído também é um parâmetro importante para determinar o desempenho de uma bomba, uma vez que, na maior parte das vezes, uma elevação do nível de ruído indica aumento de desgaste ou probabilidade de falha iminente.
Também pode ocorrer devido à cavitação (arrasto de bolhas de ar ou vaporização do fluido hidráulico).
Essas bolhas, que formam uma região de baixa pressão no fluxo, entram em colapso quando atingem a área de saída.
Isso aumenta a velocidade do fluido e cria forças de impacto, que irão causar erosão nos componentes metálicos e reduzir a vida da bomba.
Além desses aspectos críticos, o controle da temperatura também é importante para reduzir a possibilidade de formação de bolhas e de liberação de ar. A faixa recomendada em manual é de 50 a 65oC.
Principal problema encontrado em bombas hidráulicas é a contaminação do óleo. Imagem:BOSCH REXROTH
MANUTENÇÃO
No quesito estrito de manutenção, o principal problema encontrado em sistemas hidráulicos e, consequentemente, em bombas hidráulicas é a contaminação do óleo.
Ressalte-se que o uso de materiais de qualidade, particularmente filtros, assegura um óleo livre de partículas que possam causar desgaste nos componentes.
Da mesma forma, também são importantes algumas medidas como medição periódica de vazão e pressão, assim como a inspeção periódica do sistema, buscando-se sanar eventuais vazamentos e observar ruídos e vibrações anormais, além de detectar eventual elevação da temperatura do fluido.
Todos esses indícios podem caracterizar desgaste ou dano mecânico na bomba.
Por fim, cabe ressaltar que a análise de óleos serve ainda para identificar a peça com desgaste, nesse caso por meio da identificação precoce da presença de metais contaminantes.


Imagem mostra os tipos mais comuns de bombas hidráulicas, que se diferenciam pela pressão, rotação, capacidade e nível de ruído. Imagem: REPRODUÇÃO

Av. Francisco Matarazzo, 404 Cj. 701/703 Água Branca - CEP 05001-000 São Paulo/SP
Telefone (11) 3662-4159
© Sobratema. A reprodução do conteúdo total ou parcial é autorizada, desde que citada a fonte. Política de privacidade